宝塔面板怎么放行端口?宝塔面板是一款简单好用的Windows/Linux服务器运维管理面板,支持一键配置LAMP/LNMP环境、创建管理网站、FTP、数据库、安全管理等。宝塔面板一般只默认开放几个常见服务端口,其他端口都是屏蔽状态。那么,宝塔面板如何放行指定端口?下面一起来看下相关操作步骤介绍。

1、假设我们购买了一台易探云服务器来放网站,安装好宝塔Windows/Linux面板后,可登录宝塔面板账号,访问其后台管理页面。
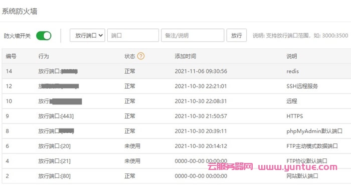
2、在宝塔面板仪表盘中,我们会看到左侧有网站、FTP、数据库、监控、安全、文件、计划任务、软件商店、面板设置等多个菜单选项。如果要放行指定端口,那么可单击“安全”菜单,导航到右侧页面的防火墙部分,在放行端口对于的文本框中,输入要放行的端口,并添加备注/说明,设置好后,点击“放行”按钮即可。
常用端口说明:
22:SSH默认端口
80:网站默认端口
443:SSL默认端口
3306:MySQL默认端口
8888:宝塔面板默认端口
888:phpMyAdmin默认端口
20、21、39000-40000:FTP默认端口
端口放行成功后,我们可以在防火墙列表查看当前端口的运行情况。放行端口状态主要分为未使用、外网不通或正常,下面是每种状态说明:
未使用
·当前没有服务程序监听此端口。
·使用此端口的服务程序没有启动。
·此端口已废弃,若确定端口已废弃,可以直接删除。
外网不通
·服务程序未监听外网。
·防火墙放行未生效,尝试删除并重新添加放行。
·阿里云/腾讯云/华为云等运营商,安全组的未放行此端口,请在对应运营商控制台放行此端口。
·若显示外网不同仍能正常访问,那么无需理会。
正常
·端口通畅。
本文来源:https://www.yuntue.com/post/39710.html | 云服务器网,转载请注明出处!

微信扫一扫打赏
支付宝扫一扫打赏