hncloud华纳云商家的香港机房原本只卖CN2服务器,现在新增了香港大带宽服务器,最低50Mbps带宽,最高1000Mbps带宽,不限月流量,并且针对大陆做了特别的优化处理(优化回国)。官方对这款机器的描述:免备案香港大带宽服务器接入大带宽专线,独享50M以上优化回国带宽,速度更快, 延迟更低,适合高密集网络吞吐、数据处理/视频/直播/下载/CDN等大带宽业务使用。那么hncloud华纳云香港大带宽服务器真实性能怎么样?选购了一台最低配套餐:E5-2660(8核16线程 2.2G),16G DDR3,500G SSD,50Mbps带宽,进行了测评,华纳云香港大带宽服务器测试IP: 154.39.66.255,供选购参考。

hncloud华纳云香港大带宽服务器基本参数与官方描述一致,IP归属hncloud自己的AS下,硬盘I/O大致280MB/S:

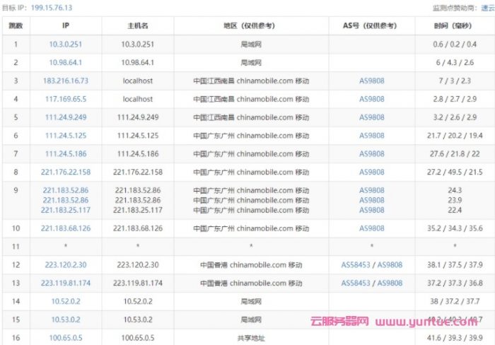
国内外超过170个节点的延迟追踪数据:

看看是不是香港原生IP,测试为美国广播IP:

丢包率测试:

我们用speedtest.net的国内外节点来测试该服务器的带宽能跑到多少,第一个默认为就近节点,基本上是跑满50Mbps,其余的为国内电信、联通、移动节点,尤其是我们需要的upload speed基本上都是跑满的:

宝塔跑个分测试下:
安装宝塔花费4分钟

宝塔跑分43396,性能彪悍

在宝塔上上传个100MB测速文件,看下上传速度1.08MB/s

100MB测速文件下载速度达到26.4MB/s

FIO详细测试硬盘的读写状态:

iperf3跑欧美节点的测试数据:

路由去程跟踪测试:
电信去程,走CN2然后对接香港pccw

联通去程,骨干网对接电信CN2然后接香港pccw

移动去程,移动CMI直连

路由回程跟踪测试:
回程,到大陆电信:从香港移动直连回国内移动后转电信;回程,到大陆联通:与前面的模式一直,从移动香港节点回内地移动后转联通;回程,到内地移动:香港移动节点直连内地

Unixbench跑分看下机器综合性能:

流媒体测试,大家自行看看吧,不保证绝对是这样:

总结下hncloud华纳云香港大带宽服务器测评结果:
去程,给电信和联通强制走了CN2到香港pccw,移动走自己的CMI直连;回程,三网强制一个模式,全部从移动香港节点直连内地移动,然后再对内地各自线路。从网络来看,这种大带宽模式的情况目前来看还是比较可以的,带宽最高还能到1Gbps,大家根据自己的需求判断吧!
本文来源:https://www.yuntue.com/post/37986.html | 云服务器网,转载请注明出处!

微信扫一扫打赏
支付宝扫一扫打赏