sugarhosts香港vps怎么样?sugarhosts糖果主机是2009年成立的一家公司,早前主要业务在虚拟主机这一块,他们家凭借着不错的性价比和服务品质从众多的主机商中脱颖而出,让很多国内的站长朋友包括小编认识到了这家厂商。
sugarhosts香港服务器是在2014年推出的,其访问速度相对于欧洲,美国的主机速度要快出许多,这对于喜欢糖果主机和香港服务器的站长来说是一个很不错的选择。
点击进入:sugarhosts糖果主机官方网站地址

1.SugarHosts香港独立服务器配置
独立服务器虽然比虚拟主机来的贵,但是在功能性上却更加的丰富,虚拟主机一般适合拿来建站使用,而独立服务器不仅支持用作建站使用,还能作为大容量网络服务等功能。对于独立服务器而言,由于其运转的条件需要一定的稳定性,通常企业都会将服务器选择托管到专业的机房中。这样不但能够保证服务器的安全,稳定性,而且也能得到很高的技术支持和安全保护。
SugarHosts的香港独立服务器均为无限流量,硬盘分为SSD固态硬盘和SATA硬盘两种。
2.SugarHosts香港vps配置
他们家的VPS目前拥有SSD和传统硬盘的配置,线路分普通洛杉矶,洛杉矶中美极速专线以及香港三个线路,香港VPS目前只有SSD固态硬盘有选择。
3.SugarHosts 香港机房网络测评


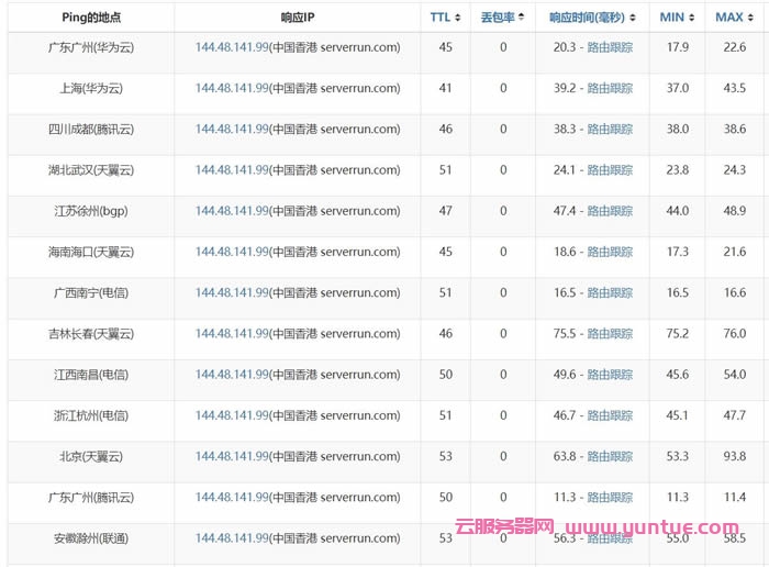
云服务器网(yuntue.com)小编测试了他们香港线路的PING速度,可以看到PING的平均响应速度,最快的仅18.6ms。响应速度来说这一块他们家香港的线路算是很出色的了,并且也没有丢包的情况出现。
最后:SugarHosts家是以虚拟主机起家的,目前也有美国、香港的VPS主机,本篇文章评测了他们的香港线路,总的来说价格上虽然比一般商家要贵一点,但是配置还是不错的,并且宽带还是5Mbps起步,性价比高也非常适合建站使用哦。
本文来源:https://www.yuntue.com/post/28294.html | 云服务器网,转载请注明出处!

微信扫一扫打赏
支付宝扫一扫打赏