宝塔面板phpmyadmin打不开怎么办?近日,发现好多人有这个问题,特写出此教程以帮助各位解决问题。在宝塔面板里装完phpmyadmin但是进不去数据库的这种情况太常见了, 很多人都买了服务器,装完了宝塔面板,但是十个人得有八个人进不去phpmyadmin,我总结了以下四种解决方案:
宝塔面板phpmyadmin打不开问题截图:

出现此种问题主要有以下几种可能原因:
1.服务器888端口没有放行
2.服务器888端口放行后,服务器的安全组没有放行888端口
3.PHP版本不正确或者没有选择PHP版本
4.phpmyadmin没有正确安装
针对以上几个原因下面一一给出解决办法:
第一种:
在宝塔面板–安全选项卡放行888端口,如下图:

宝塔面板放行端口
在端口控制后面输入888端口后面加一个备注,这里备注写的是phpmyadmin端口。然后点击放行即可
第二种:
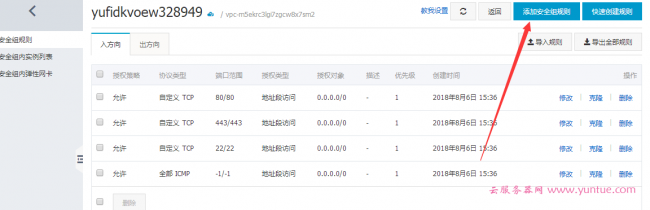
如果你是用的是阿里云或者腾讯云这类有安全组设置的服务商,请在安全组放行端口,如下图(阿里云):

阿里云安全组

阿里云安全组
请注意,上图中安全组放行只设置了入方向规则,请在出方向添加同样的规则,保证端口出入都是正常。
第三种:
有些人phpmyadmin没有设置PHP版本,或者PHP版本设置的不对,如下图:

phpmyadmin设置PHP版本
在这里将PHP版本设置一下然后保存即可!注意,PHP版本最好设置7.0及以上版本!
第四种:
phpmyadmin没有正确安装的话,在软件管理界面将phpmyadmin卸载重新安装即可。
本文来源:https://www.yuntue.com/post/13794.html | 云服务器网,转载请注明出处!

微信扫一扫打赏
支付宝扫一扫打赏